需要協助嗎?
請您提供現況和需求,我們會協助您找出解決辦法。
staging
軸承的安裝方法因軸承結構或配合的條件不同而異。由於一般多為軸旋轉,因此內輸需要緊配 合。如圓柱孔軸承時,多是利用壓力機壓入或熱裝的方法進行安裝。如為錐形孔時,則是直接安裝於 錐度軸上,或利用套筒安裝。
安裝至軸承箱的動作一般是以採用游隙配合居多,當外輪有緊度時,一般會以壓力機壓入。另 外也有冷卻後安裝的冷縮配合方法,此方法是利用乾冰作冷卻劑。採用冷縮配合安裝時,由於空氣中 的水分會凝結於軸承表面,因此必須有適當的防鏽措施。
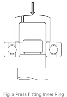
小型軸承廣泛採用以壓力機壓入的方法。如圖a所示,將墊塊墊在內輪上,用壓力機靜靜地壓至 內輪側面緊密接觸到軸擋肩為止。將墊塊墊在外輪上後安裝內輪,會造成軌道面發生壓痕、壓傷的原 因,因此決對禁止採用此方式。
另外,在進行作業時,最好事先在配合面上塗抹油。不得已必須使用榔頭敲打以進行安裝時, 也是將墊塊墊在內輪上進行作業。由於這種方法時而會造成軸承損傷的原因,因此僅限於緊度小的時 候使用,不得用於緊度大或中、小型軸承。
如深溝滾珠軸承之類的非分離型軸承,內輪、外輪均需以緊配合進行安裝 時,如圖b所示,使用墊塊墊上,以螺桿或油壓將內輪與外輪同時押入。如為自 動調心滾珠軸承時,由於外輪易傾斜,因此,即使不是緊配合,也以墊上墊塊 進行安裝為佳。
如圓柱滾子軸承、圓錐滾子軸承之類的分離型軸承,可分別將內輪、外輪 安裝至軸及軸承箱上。將分別安裝好的內輪及外輪加以組合時,重要的是必須 安穩地將二者合攏,以使二者中心不產生偏離。勉強壓入會造成滾動面卡傷。
由於大型軸承在壓入時需要極大的力量,因此較難以進行壓入作業。為了 解決此問題,在油中加熱軸承使其膨脹後,再安裝至軸上的熱裝方法廣為使 用。利用此方法能夠不造成軸的過度負擔,且可在短時間內完成作業。
熱裝作業的注意事項有以下幾點。


(a) 利用壓力機 (最一般的方法)

(b) Use of nut and bolt

(c) Use of hammer
不論採用哪種方法,為使軸承受力均勻;可借用套管慢慢地壓入;如下圖所示
不得在壓內圈時用套管頂住外圈,或在壓外圈時用套管頂住內圈
Press-fitting of inner ring
Press-fitting of outer ring
Press-fitting of inner ring
非分離型軸承的內圈與外圈均為過盈配合時;壓入時容易損傷滾動體,因此可如右圖所示,利用套管和擋塊慢慢地壓入。這時不得用手錘敲
Simultaneous press-fitting of inner and outer rings
請您提供現況和需求,我們會協助您找出解決辦法。