品質保證
- 通過 10 多道精密檢測程序
staging
目錄
通常情況下,滑板軸承有各種尺寸和品質等級,它們通常以尺寸(例如 608 軸承,這是滑板常用的尺寸)來分類,有時也會以 ABEC 等級來分類,ABEC 等級表示其精密度和公差等級。
z809 軸承是一種常見且廣泛使用的軸承型號。了解其內徑、外徑和寬度尺寸對選擇合適的軸承至關重要。根據您的應用需求、載荷、速度、溫度和品質標準,選擇適合您應用的 z809 軸承尺寸,以確保良好的性能和可靠性。
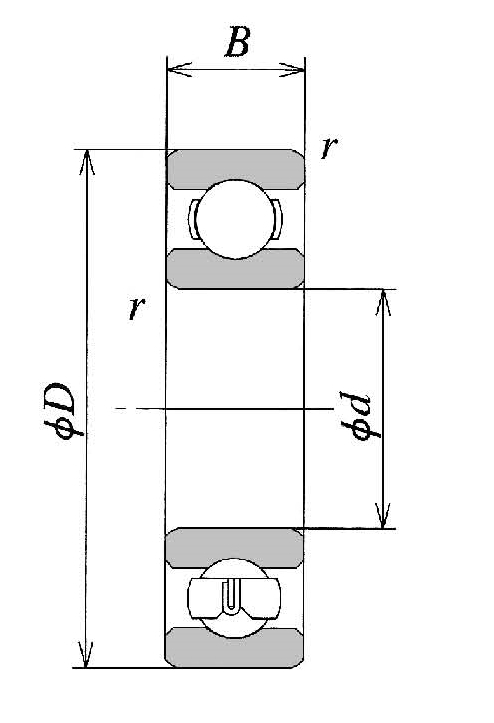
微型滾珠軸承 z809 詳細尺寸資訊
- 設計簡單、用途廣泛、堅固耐用
- 低摩擦
- 高速能力
- 可承受徑向和軸向負荷
- 低維護需求
z809 軸承的結構通常包括內圈和外圈、一組鋼珠以及保持架,以維持鋼珠的分離。
內圈和外圈通常由高品質鋼材製成,而鋼珠則由鋼材製成。 保持架通常由尼龍或鋼等合成材料製成,其作用是使軸承內的鋼珠間距均勻,並減少摩擦。

滑板的概念可以追溯到 20 世紀 40 和 50 年代,當時一些有心人將輪子裝到木板上,模仿在陸地上衝浪的感覺。 這些早期的滑板通常使用簡陋、低品質的軸承,速度和操控性都受到影響。 滑板愛好者因為設備的限制而感到沮喪。

隨著滑板運動在 20 世紀 60 年代和 70 年代的普及,對更好的軸承的需求變得顯而易見。滑板玩家和製造商開始嘗試不同的軸承設計和材質,以改善性能。軸承從基本的鋼鐵設計演變到更複雜的配置,例如精密軸承,其目的是減少摩擦和提高速度。
透過瞭解 Z809 軸承,您可以做出明智的選擇、提升滑板的性能,並享受更順暢、更快速、更可靠的滑板騎乘體驗。 滑板運動就是要突破極限,有了 Z809 軸承,您的滑板技術就能更上一層樓。
需要快速獲得軸承的購買資訊嗎?
|
軸承編號 (JIS/NSK)* |
內徑 (mm)* |
外徑 (mm)* |
寬度 (mm)* |
B1* |
D1* |
C1* |
C2* |
|---|---|---|---|---|---|---|---|
|
1 |
3 |
1 |
1.5 |
3.8 |
0.3 |
0.3 |
|
|
1 |
4 |
1.6 |
2.3 |
5 |
- |
- |
|
|
1.5 |
4 |
1.2 |
- |
5 |
0.4 |
- |
|
|
1.5 |
5 |
2 |
2.6 |
6.5 |
0.6 |
0.8 |
|
|
1.5 |
6 |
2.5 |
3 |
7.5 |
0.6 |
0.8 |
|
|
2 |
4 |
1.2 |
2 |
- |
- |
- |
|
|
2 |
5 |
1.5 |
2.3 |
6.1 |
0.5 |
0.6 |
|
|
2 |
6 |
2.3 |
3 |
7.5 |
0.6 |
0.8 |
|
|
2 |
7 |
2.8 |
3.5 |
8.5 |
0.6 |
0.6 |
|
|
2.5 |
6 |
1.8 |
- |
7 |
0.6 |
- |
|
|
3 |
7 |
2 |
3 |
8 |
0.6 |
0.6 |
|
|
3 |
8 |
3 |
4 |
9 |
0.6 |
0.6 |
|
|
3 |
9 |
3 |
5 |
10 |
0.6 |
0.6 |
|
|
3 |
10 |
4 |
4 |
11.5 |
0.6 |
0.6 |
|
|
3 |
13 |
5 |
5 |
15 |
1 |
1 |
|
|
4 |
9 |
2.5 |
4 |
10 |
0.6 |
0.6 |
|
|
4 |
11 |
4 |
4 |
12 |
0.6 |
0.6 |
|
|
4 |
12 |
4 |
4 |
13 |
0.6 |
0.8 |
|
|
4 |
13 |
5 |
5 |
14 |
0.6 |
0.8 |
|
|
4 |
16 |
5 |
5 |
17 |
1 |
1 |
|
|
5 |
11 |
3 |
4 |
12 |
0.6 |
0.8 |
|
|
5 |
13 |
4 |
4 |
14 |
0.6 |
0.8 |
|
|
5 |
14 |
5 |
5 |
14 |
0.6 |
1 |
|
|
5 |
16 |
5 |
5 |
18 |
0.6 |
1 |
|
|
5 |
19 |
6 |
6 |
22 |
1 |
1.5 |
|
|
6 |
13 |
3.5 |
4 |
14 |
0.6 |
0.8 |
|
|
6 |
15 |
5 |
5 |
17 |
0.6 |
0.8 |
|
|
6 |
17 |
6 |
6 |
19 |
1 |
1.5 |
|
|
6 |
19 |
6 |
6 |
22 |
1 |
1.5 |
|
|
6 |
22 |
7 |
7 |
25 |
1.5 |
2 |
|
|
7 |
14 |
3.5 |
4 |
15 |
0.6 |
1 |
|
|
7 |
17 |
5 |
5 |
18 |
1 |
1.5 |
|
|
7 |
19 |
6 |
6 |
22 |
1 |
1.5 |
|
|
7 |
22 |
7 |
7 |
24 |
1.5 |
2 |
|
|
7 |
26 |
9 |
9 |
30 |
1.5 |
2.5 |
|
|
8 |
16 |
4 |
4 |
18 |
0.6 |
1 |
|
|
8 |
19 |
6 |
6 |
22 |
1 |
1.5 |
|
|
8 |
22 |
7 |
7 |
22 |
1 |
1.5 |
|
|
8 |
24 |
8 |
8 |
24 |
1.5 |
2 |
|
|
8 |
28 |
9 |
9 |
30 |
1.5 |
2.5 |
|
|
9 |
17 |
4 |
4 |
19 |
0.6 |
1 |
|
|
9 |
20 |
6 |
6 |
22 |
1 |
1.5 |
|
|
9 |
24 |
7 |
7 |
25 |
1 |
1.5 |
|
|
9 |
26 |
8 |
8 |
27 |
1.5 |
2 |
|
|
9 |
30 |
10 |
10 |
35 |
2 |
3 |
三大保證
這樣的資訊只是冰山一角!
深入了解各種培林的特性與應用
點擊這裡閱讀更多相關文章,為您的項目選擇最適合的培林。
6204軸承是一種常見且廣泛應用的軸承型號。
了解其內徑、外徑和寬度尺寸對於選擇合適的軸承至關重要。根據您的應用需求、載荷、速度、溫度和品質要求,選擇........
請您提供現況和需求,我們會協助您找出解決辦法。