需要協助嗎?
請您提供現況和需求,我們會協助您找出解決辦法。
staging
目錄

滾動軸承是各行業中至關重要的機械組件,從汽車、航空航天到製造業皆有廣泛應用。它們旨在減少摩擦並促進平穩運動,使其成為無數應用中不可或缺的部分。在本指南中,我們將全面探索滾動軸承的世界,涵蓋其類型、功能及多樣化的應用。
關於滾動軸承的常見問題
- 什麼是滾動軸承?
- 滾動軸承的優勢是什麼?
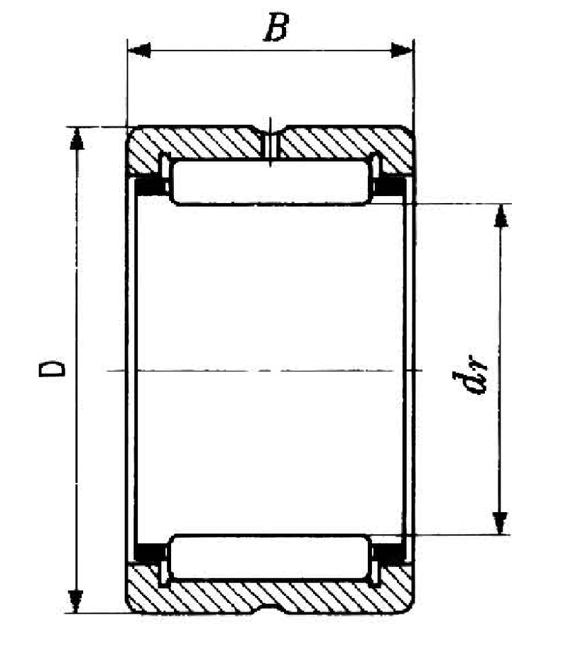
滾動軸承是一種機械組件,設計目的是減少運動部件之間的摩擦,並促進軸或其他機械部件的平滑旋轉。它通常由兩個環(內環和外環)組成,稱為軌道,並在軌道之間放置一組滾動元件(如滾珠或滾子)。
滾動元件使軸承能夠支撐並分配負載,同時最大限度地減少摩擦,使各類機械和機械系統中的旋轉運動高效且可靠。
減少摩擦:滾動軸承顯著減少了運動部件之間的摩擦,使旋轉更加順暢且高效。
負載分配:它們將負載均勻地分布在滾動元件上,從而更有效地支撐徑向和軸向負載。
高耐用性:滾動軸承設計堅固,能夠承受重負載,並在各種應用中提供長壽命。
低噪音與振動:與滑動軸承相比,滾動軸承在運行過程中產生的噪音和振動更少,有助於使機械更加安靜和平穩。
高轉速適應性:由於減少了摩擦,滾動軸承非常適合高速應用,廣泛應用於各種工業和汽車用途。
多功能性:各種專為特定應用設計的滾動軸承可用,根據不同機械和系統的需求提供靈活性和定制性。
維護方便:滾動軸承相比其他類型的軸承通常更易於維護和更換,有助於提高整體系統的可靠性。
精確性:滾動軸承提供準確的軸定位,非常適合精度要求較高的應用。

圓柱滾子軸承是滾動軸承的一個子集,使用圓柱形滾子來承載負載。它們設計用於承受高徑向負載,並廣泛應用於汽車、機械和其他工業應用中。
滾動軸承是機械工程中的無名英雄,使無數設備和機械能夠平穩、高效地運行。
了解各種滾動軸承及其應用對於工程師、設計師和維護專業人員至關重要。
無論是在汽車引擎中減少摩擦,還是支撐風力發電機的巨大葉片,滾動軸承都是現代技術的基石,確保我們的世界不斷向前滾動。
請您提供現況和需求,我們會協助您找出解決辦法。