需要協助嗎?
請您提供現況和需求,我們會協助您找出解決辦法。
staging
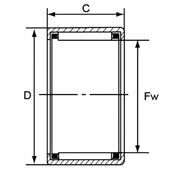
滾針軸承是精密設計的元件,因其能在有限空間內承受高徑向負荷而廣泛應用於各行各業。正確選擇滾針軸承對於確保機械和設備的最佳性能和長壽命至關重要。為了協助此過程,滾針軸承尺寸圖可作為寶貴的參考工具。
在這篇文章中,我們將探討滾針軸承尺寸圖的細節,解釋其重要性並提供重要的見解,以幫助您在為特定應用選擇滾針軸承時做出明智的決策。

滾針軸承尺寸表是一個全面的參考指南,它提供了不同類型和尺寸的滾針軸承的關鍵資訊。
它通常包括內徑、外徑、寬度和承載能力等關鍵參數。尺寸表還可能提供其他詳細資訊,例如極限速度、公差等級以及保持架設計和材料的可用變化。
基於幾個原因,使用滾針軸承尺寸表是非常重要的。首先,它可以精確識別特定應用所需的適當軸承尺寸。通過參考圖表,工程師和技術人員可以將所需尺寸和負載能力與可用的滾針軸承選項相匹配。
這可確保兼容性和最佳性能。
其次,尺寸表考慮了轉速和負載類型等關鍵工作條件,有助於準確選擇軸承。這些因素在很大程度上會影響滾針軸承在特定應用中的適用性。
需要協助選擇適合你的滾針軸承嗎?
如果您需要協助選擇適合您產業應用的產品,
ISK BEARINGS 提供應用支援作為服務的一部分,可以讓您的工作更輕鬆。
要有效利用滾針軸承尺寸表,了解應用的具體要求至關重要。這包括所需的負載能力、作業條件、速度限制,以及該行業或設備特有的任何特殊考慮等因素。

首先確定您的應用所需的關鍵參數,例如所需的內徑、外徑和寬度。 將這些尺寸與尺寸表中的可用選項進行交叉比較,找出合適的滾針軸承尺寸。 考慮承載能力和其他相關因素,以確保最佳性能和長壽命。
若要取得滾針軸承詳細尺寸的全面資訊,建議下載我們的型錄。
目錄提供各種滾針軸承的深入規格和技術細節,包括內徑、外徑、寬度和其他關鍵尺寸。
|
Bearing No. |
Bore(Fw)(mm) |
Outer(D)(mm) |
Width(C)(mm) |
Weight(g) |
|---|---|---|---|---|
| TLA 59 | 5 | 9 | 9 | 1.8 |
| TLA 69 | 6 | 10 | 9 | - |
| TLA 79 | 7 | 11 | 9 | 2 |
| TLA 810 | 8 | 12 | 10 | 2.1 |
| TA 810 | 8 | 15 | 10 | - |
| TA 815 | 8 | 15 | 15 | - |
| TA 912 | 9 | 16 | 12 | 1.8 |
| TA 916 | 9 | 16 | 16 | 2.1 |
| TLA 1010 | 10 | 14 | 10 | 2.2 |
| TLAM 1010 | 10 | 14 | 10 | 2.2 |
| TLA 1012 | 10 | 14 | 12 | 2.6 |
| TLAM 1012 | 10 | 14 | 12 | 2.3 |
| TLA 10142RS | 10 | 14 | 14 | 2.5 |
| TLA 1015 | 10 | 14 | 15 | - |
| TA 101610 | 10 | 16 | 10 | 2.3 |
查看完整頁面: 沖壓外圈滾針軸承 - TA系列
|
Bearing No. |
Bore(Fw)(mm) |
Outer(D)(mm) |
Width(C)(mm) |
Weight(g) |
|---|---|---|---|---|
| HK0306TN | 3 | 6.5 | 6 | - |
| SCE 55 + pg | 3.175 | 12.7 | 8.334 | 0.004 |
| SCE 21/24TN | 3.97 | 7.15 | 6.35 | - |
| BK0408TN | 4 | 8 | 8 | 1.8 |
| HK0408TN | 4 | 8 | 8 | 1.6 |
| SCE 34TN | 4.762 | 8.731 | 6.35 | - |
| HK0509 | 5 | 9 | 9 | 2 |
| BK0509 | 5 | 9 | 9 | 2.1 |
| HK0510 | 5 | 9 | 10 | - |
| HK0509TN | 5 | 11 | 9 | - |
| HK0606 | 6 | 10 | 6 | - |
| HK0607 | 6 | 10 | 7 | 1.8 |
| BK0608 | 6 | 10 | 8 | 2.2 |
| HK0608 | 6 | 10 | 8 | 2.1 |
| BK0609 | 6 | 10 | 9 | 2.6 |
查看完整頁面: 沖壓外圈滾針軸承 - HK/SCE系列
|
Bearing No. (Plastic spring) |
Bearing No. (Stainless steel spring plate) |
Fw(mm) |
D(mm) |
C(mm) |
|---|---|---|---|---|
| HF0406KF | - | 4 | 8 | 6 |
| HF0406KFR | - | 4 | 8 | 6 |
| HK0608KF | - | 6 | 10 | 8 |
| HF0612KF | HF0612 | 6 | 10 | 12 |
| HF0612KFR | HF0612R | 6 | 10 | 12 |
| HF061207 | HF061207 | 6 | 12 | 7 |
| HF061210 | HF061210 | 6 | 12 | 10 |
| HF081210 | HF081210 | 8 | 12 | 10 |
| HF0812KFR | HF0812R | 8 | 12 | 12 |
| HF0812KF | HF0812 | 8 | 12 | 12 |
| HF08145.3KF | - | 8 | 14 | 5.3 |
| HF081410 | HF081410 | 8 | 14 | 10 |
| HF081412 | HF081412 | 8 | 14 | 12 |
| HF081607 | HF081607 | 8 | 16 | 7 |
| HF081610 | HK081610 | 8 | 16 | 10 |
查看完整頁面: 單向滾針軸承 - HF系列
|
Bearing No. |
dr(mm) |
D(mm) |
C(mm) |
Weight(g) |
|---|---|---|---|---|
| NK5/12TN | 5 | 10 | 12 | 3.7 |
| NK6/10TN | 6 | 12 | 10 | 4.7 |
| NK6/12TN | 6 | 12 | 12 | 5.7 |
| NK7/10 | 7 | 14 | 10 | 6.9 |
| NK7/12 | 7 | 14 | 12 | 8.2 |
| NK8/12 | 8 | 15 | 12 | 8.7 |
| NK8/16 | 8 | 15 | 16 | 12 |
| NKS8 | 8 | 16 | 13 | 11 |
| NK9/12 | 9 | 16 | 12 | 10 |
| NK9/16 | 9 | 16 | 16 | 13 |
| NK10/12 | 10 | 17 | 12 | 10 |
| NK10/16 | 10 | 17 | 16 | 13 |
| NKS10 | 10 | 19 | 13 | 15 |
| NK12/12 | 12 | 19 | 12 | 13 |
| NK12/16 | 12 | 19 | 16 | 16 |
查看完整頁面: 車削型滾針軸承 - NK系列
需要協助選擇適合你的滾針軸承嗎?
如果您需要協助選擇適合您產業應用的產品,
ISK BEARINGS 提供應用支援作為服務的一部分,可以讓您的工作更輕鬆。
|
Bearing No. (With inner) |
Bearing No. (Without inner) |
d(mm) |
Fw(mm) |
D(mm) |
C(mm) |
|---|---|---|---|---|---|
| RNA494TN | RNA494TN | - | 6 | 12 | 10 |
| NA495 | RNA495 | 5 | 7 | 13 | 10 |
| NA496 | RNA496 | 6 | 8 | 15 | 10 |
| NA497 | RNA497 | 7 | 9 | 17 | 10 |
| NA498 | RNA498 | 8 | 10 | 19 | 11 |
| NA499 | RNA499 | 9 | 12 | 20 | 11 |
| NA4900 | RNA4900 | 10 | 14 | 22 | 13 |
| NA4901 | RNA4901 | 12 | 16 | 24 | 13 |
| RNA49/14 | RNA49/14 | - | 18 | 26 | 13 |
| NA4902 | RNA4902 | 15 | 20 | 28 | 13 |
| NA4903 | RNA4903 | 17 | 22 | 30 | 13 |
| NA4904 | RNA4904 | 20 | 25 | 37 | 17 |
| NA49/22 | RNA49/22 | 22 | 28 | 39 | 17 |
| NA4905 | RNA4905 | 25 | 30 | 42 | 17 |
| NA49/28 | RNA49/28 | 28 | 32 | 45 | 17 |
查看完整頁面: 車削型滾針軸承 - NA/RNA系列
|
Bearing No. |
Bearing No. (Thrust bearings plate) |
Bearing No. (Bearings plate) |
Dc1(mm) |
Dc(mm) |
DW(mm) |
|---|---|---|---|---|---|
| AXK 0515TN | AS 0515 | - | 5 | 15 | 2 |
| AXK 0619TN | AS 0619 | LS 0619 | 6 | 19 | 2 |
| AXK 0821TN | AS 0821 | LS 0821 | 8 | 21 | 2 |
| AXK 1024 | AS 1024 | LS 1024 | 10 | 24 | 2 |
| AXK 1226 | AS 1226 | LS 1226 | 12 | 26 | 2 |
| AXK 1528 | AS 1528 | LS 1528 | 15 | 28 | 2 |
| AXK 1730 | AS 1730 | LS 1730 | 17 | 30 | 2 |
| AXK 2035 | AS 2035 | LS 2035 | 20 | 35 | 2 |
| AXK 2542 | AS 2542 | LS 2542 | 25 | 42 | 2 |
| AXK 3047 | AS 3047 | LS 3047 | 30 | 47 | 2 |
| AXK 3552 | AS 3552 | LS 3552 | 35 | 52 | 2 |
| AXK 4060 | AS 4060 | LS 4060 | 40 | 60 | 3 |
| AXK 4565 | AS 4565 | LS 4565 | 45 | 65 | 3 |
| AXK 5070 | AS 5070 | LS 5070 | 50 | 70 | 3 |
| AXK 5578 | AS 5578 | LS 5578 | 55 | 78 | 3 |
查看完整頁面: 止推滾針軸承 - AXK系列
|
Bearing No. |
Bore(d)(mm) |
Outer(D)(mm) |
Width(B)(mm) |
Weight(g) |
|---|---|---|---|---|
| K3 x 5 x 9TN | 3 | 5 | 9 | 0.4 |
| K3 x 6 x 7TN | 3 | 6 | 7 | 0.4 |
| K4 x 7 x 7TN | 4 | 7 | 7 | 0_5 |
| K4 x 7 x 10TN | 4 | 7 | 10 | 0.7 |
| K5 x 8 x 8TN | 5 | 8 | 8 | 0.7 |
| K5 x 8 x 10TN | 5 | 8 | 10 | 0.9 |
| K6 x 9 x 8TN | 6 | 9 | 8 | 0.8 |
| K6 x 9 x 10TN | 6 | 9 | 10 | 1 |
| K6 x 10 x 13TN | 6 | 10 | 13 | 1.3 |
| K7 x 10 x 8TN | 7 | 10 | 8 | 0.9 |
| K7 x 10 x 10TN | 7 | 10 | 10 | 1.1 |
| K8 X 11 X 8TN | 8 | 11 | 8 | 1.1 |
| K8 x 11 x 10TN | 8 | 11 | 10 | 1.7 |
| K8 x 11 x 13TN | 8 | 11 | 13 | 1.8 |
| K8 x 12 x 10TN | 8 | 12 | 10 | 1.3 |
查看完整頁面: 向心滾針和保持架 - KT系列
|
Bearing No. |
Bore(d)(mm) |
Outer(D)(mm) |
Width(B)(mm) |
Weight(g) |
|---|---|---|---|---|
| CF 4 | 4 | 12 | 8 | 7.4 |
| CF 5 | 5 | 13 | 9 | 10.3 |
| CF 6 | 6 | 16 | 11 | 18.5 |
| CF 8 | 8 | 19 | 11 | 28.5 |
| CF 10 | 10 | 22 | 12 | 45 |
| CF 10-1 | 10 | 26 | 12 | 60 |
| CF 12 | 12 | 30 | 14 | 95 |
| CF 12-1 | 12 | 32 | 14 | 105 |
| CF 16 | 16 | 35 | 18 | 169 |
| CF 18 | 18 | 40 | 20 | 250 |
| CF 20-1 | 20 | 47 | 24 | 386 |
| CF 20 | 20 | 52 | 24 | 461 |
| CF 24 | 24 | 62 | 29 | 815 |
| CF 24-1 | 24 | 72 | 29 | 1140 |
| CF 30 | 30 | 80 | 35 | 1870 |
See the full page: 凸輪從動件 - CF系列
需要協助選擇適合你的滾針軸承嗎?
如果您需要協助選擇適合您產業應用的產品,
ISK BEARINGS 提供應用支援作為服務的一部分,可以讓您的工作更輕鬆。
如果您不確定應該選擇哪種軸承,我們建議諮詢專業工程師或直接聯繫ISK軸承,以確保您的設備達到最佳性能和壽命。

延伸閱讀: 滾針軸承入門與基礎知識: 綜合指南
請您提供現況和需求,我們會協助您找出解決辦法。